|   | 
| 泛奥产品分类 | 
 | 
| 
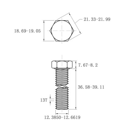
					 什么是美制螺丝? 其实这个就是我们国标螺丝一样,以我们自已发布的标准为指导生产出来的螺丝,就称为国标螺丝,而以老美那边发布的标准生产出来的螺丝就称为美制螺丝了。它和国标螺丝有什么区别呢? 首先是对产品的描述上,国标螺丝都是有整数来描述螺纹直径,比如M6,指的螺纹直径是6毫米,而美制螺丝则是用带小数点的数字来描述的,比如0.25寸,然后再换算成分数成1/4,对应的毫米单位就是6.35毫米了。从这个变化可以看出,美制的英寸为了方便查阅,要想换成公制,需要乘以25.4这个数字,大家记住了,在美制螺丝的标准中,“25.4”这个数字非常之重要。 什么是英制螺丝? 老美的存在相信大家都知道,是从英G演化而来,总体来说,二个地方文化差异同宗同源,所以英制螺丝的描述其实是和美制一样的,单位都是英寸,想要换算成公制,同样也要用上“25.4”这个关键数字了。 它和美制的区别是在于螺纹这一块,最下方有一个螺丝的规格表,我们从表中可以看出来,英制螺丝的螺纹角度是55度,而美制螺丝的螺纹角度是60度,但这个其实在我们日常的使用中肉眼是观察不出来的,需要用标准的量尺来进行检测。而最大的区别是在其中一个规格上,它就是螺纹直径为“1/2”的标准,在英制螺丝标准中,如果是1/2的螺丝,对应的牙距是12牙,而在美制螺丝标准中,1/2的螺纹对应的却是13牙,别看差了一个牙,但同一螺纹却是不通用的,13牙的美制螺纹也拧不进12牙的英制螺纹内,同样英制螺纹也是如此了。这里需要说明一下的是这个牙数,我们国标螺丝中,如果是M8的螺纹,对应的牙距是1.25,这里的1.25表示的是牙与牙之前的间距,而美制和英制螺纹中,如果是1/2-12牙或是1/2-13牙,这里的12和13表示是的每25.4毫米的长度中,有12个或是13个螺纹。为了方便理解, 我们放二张1/2-12牙的英制螺丝和1/2-13牙的美制螺丝进行对比,如下图: 
	 左图的螺纹是1/2-13的螺纹,右图则是1/2-12的螺纹了,除了这个规格的英美制螺丝不能通用,其它规格的英制螺丝和美制螺丝均可以互换使用。具体有哪个美制螺纹标准呢,请看下图,下面这张图中,我们把常用的英制螺纹标准和美制螺纹标准列了出来。 
	 
 | 
| 无锡泛奥紧固件有限公司版权所有   
		icp备案:苏ICP备09004535号 电话:0510-82446170 传真:0510-82446270 邮箱:168@f6170.com 123@f6170.com 公司地址:无锡市梁溪区科创园会西路30号-47#厂房(泛奥公司) |